Introdução
A DLL TefClientMC proporciona uma integração flexível, permitindo à automação um alto nível de controle sobre o fluxo da transação e ampla personalização por meio de um processo iterativo. É ideal para automações que buscam preservar sua identidade visual e ter maior controle sobre cada etapa da transação.
Requisitos para Execução
Para a execução da DLL, é necessário que os seguintes componentes de software estejam instalados:
- Microsoft .Net Framework 4.6.2 (download)
- Microsoft Visual C++ 2015-2022 Redistributable (download)
Para garantir o funcionamento adequado da DLL, o ambiente deve atender aos seguintes requisitos mínimos:
- Windows 7 SP1
- Processador Intel Core i3
- 3GB de memória RAM
- 1GB de espaço disponível no HD
- 1 porta USB para a conexão do Pinpad
- Pinpad
Para um melhor desempenho e estabilidade recomendamos a seguinte configuração:
- Windows 10 ou superior
- Processador Intel Core i3, AMD Ryzen 3 ou superior
- 4GB de memória RAM
- 1,5GB de espaço disponível no SSD
- 1 porta USB para a conexão do Pinpad
- Pinpad
Fluxo de Utilização
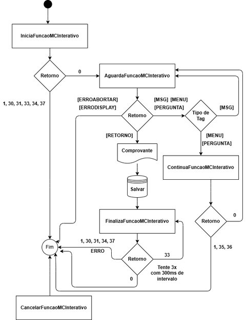
A integração com a DLL TefClientMC ocorre por meio da implementação das funções básicas de comunicação da biblioteca. O processo de transação se inicia com a chamada da função IniciaFuncaoMCInterativo.
Ao chamar essa função com os parâmetros adequados (detalhados posteriormente), deve-se verificar o retorno. Se for 0, o processo continua normalmente; caso contrário (retorno maior que 0), a transação deve ser encerrada.
Em seguida, dentro de um laço de repetição, a função AguardaFuncaoMCInterativo deve ser chamada. Essa função retorna um BSTR contendo informações essenciais para a transação. Se o retorno for [ERROABORTAR] ou [ERRODISPLAY], o processo deve ser interrompido imediatamente. Caso contrário, a comunicação prossegue por meio da função ContinuaFuncaoMCInterativo, se houver retorno de tags que solicitem dados, como [MENU] e [PERGUNTA]. O laço se encerra quando AguardaFuncaoMCInterativo retornar a tag [RETORNO].
Após o recebimento dessa tag, deve-se imprimir o comprovante da transação, armazenar suas informações e, por fim, chamar a função FinalizaFuncaoMCInterativo, confirmando assim a transação.
Se for necessário cancelar a transação a qualquer momento, a função CancelarFluxoMCInterativo pode ser chamada. Essa função retorna 0 em caso de sucesso e interrompe imediatamente o fluxo da transação.
O retorno das funções indica o sucesso de sua execução. No caso específico de FinalizaFuncaoMCInterativo, o resultado da confirmação ou do cancelamento da transação pode ser obtido por meio da função AguardaFuncaoMCInterativo ou pela verificação do status da transação.
| Retorno | Função |
|---|---|
| INT | IniciaFuncaoMCInterativo |
| *BSTR | AguardaFuncaoMCInterativo |
| INT | ContinuaFuncaoMCInterativo |
| INT | FinalizaFuncaoMCInterativo |
| INT | CancelarFluxoMCInterativo |
*Informações sobre o tipo BSTR (Clique aqui)

Observações sobre o Processo Iterativo
Durante a execução do laço de repetição, evite a inclusão de delays, sleeps ou qualquer instrução que possa resultar em atrasos na execução. Isso é crucial, pois pode levar à perda de dados ou ao encerramento inesperado da execução. As chamadas para a função AguardaFuncaoMCInterativo devem ser feitas de maneira contínua, com tratamento adequado para cada tag. Se uma mensagem for exibida pela automação e você receber uma nova mensagem ou algum outro retorno, substitua a mensagem anterior apenas nesses casos. Durante o processo, é importante estar ciente de que em certos momentos, podem ser retornadas strings vazias.